RBC Thin Section Ball Bearings

RBC thin section ball bearings are engineered to solve a variety of design problems that cannot be solved with conventional ball bearings.

duplex pairs & axial preloading

Duplex Pairs

Duplex bearings are a pair of angular contact thin section ball bearings specially ground for use as a matched set.

There are three basic mounting methods to accommodate different loading requirements:

  • Back to back (DB), B-Type
  • Face to face (DF), F-Type
  • Tandem (DT), T-Type

A duplexed pair can be used to provide accurate shaft location, to increase capacity or to increase stiffness of the bearing assembly. A duplex pair of thin section ball bearings is ground so that when mounting using recommended fits, there will be no internal clearance in the bearings. 

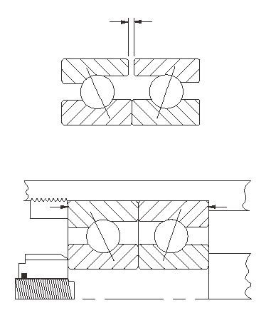
Back to Back (DB)
B-Type

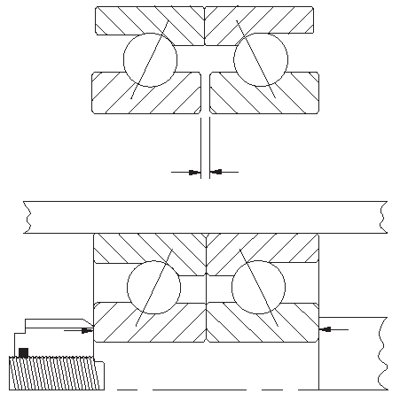
Face to Face (DF)
F-Type

Tandem (DT)
T-Type

   
  • Heavy radial loads
  • Combined thrust and radial loads
  • Reversing thrust load
  • Excellent rigidity
  • Moment loads
  • Heavy radial loads
  • Combined thrust and radial loads
  • Reversing thrust load
  • Moment loads
  • High one-direction thrust loads
  • Minimum axial shaft deflection
  • Heavy radial loads
 
 
 
 
 
 
 
 

Axial Preloading

Standard duplex bearings are ground so that there will be a light axial preload induced on the bearing at nominal conditions. In some applications increased bearing stiffness may be required. In these cases the duplex grinding can be done such that a heavier axial load is induced in the mounted bearing. This load can be increased or decreased to meet the requirements of a particular application.